Отримати консультацію
Телефонуйте: +38 067 364 63 17 +38 099 062 70 17 Пишіть: nasos221@gmail.com
Телефонуйте: +38 067 364 63 17 +38 099 062 70 17 Пишіть: nasos221@gmail.com
Даний товар сертифікований.
Занурювальні насоси з нержавіючої сталі. Вони забезпечують тривалий термін служби та стабільну
роботу завдяки чудовим матеріалам і виробничим характеристикам.
Технічні характеристики
Макс. вміст піску: 150 гр/м3
Частота: 50 Гц;
Напруга: трифазний: 380-415В(+%6 / - %10);
Кришка клапана: Нержавіюча сталь;
Ізоляція класу F для двигунів 6″, 7″, 8″, 10″.
Максимальна глибина занурення 350 м.
Клас захисту IP68.
Темпаратура перекачуваної рідини +50 °С.
|
ХАРАКТЕРИСТИКИ МАТЕРІАЛІВ |
|
|
Дифузор |
Нержавіюча сталь - (AISI 304 L) |
|
Робоче колесо |
Нержавіюча сталь - (AISI 304 L) |
|
Вал насоса |
Нержавіюча сталь - (AISI 402) |
|
Філ ьтр |
Нержавіюча сталь - (AISI 304) |
|
Діаметр вихідного патрубка |
3" |
Гідравлічні характеристики:

Таблиця продуктивності
|
Тип насосу |
Двигун |
Продуктивність |
|||||||||
|
кВт |
Hp |
м3/г |
0 |
7,2 |
14,4 |
21,6 |
24 |
28,8 |
36 |
43,2 |
|
|
6SS 30/06 |
5,5 |
7,5 |
м |
72 |
69 |
64 |
57 |
54 |
46 |
33 |
15 |
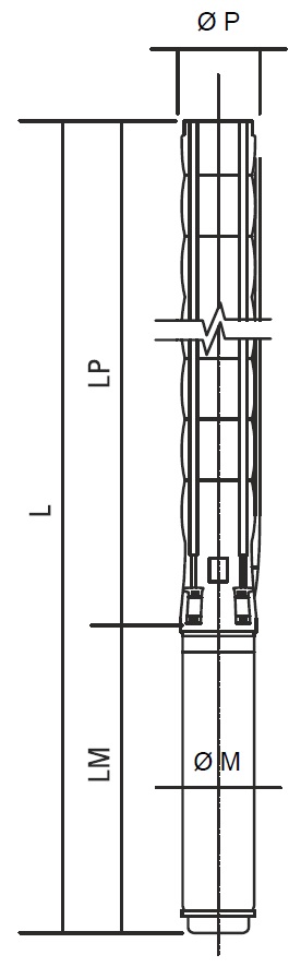
Габаритні розміри:

|
Модель |
Двигун |
Розміри (мм) |
Вага (кг) |
|||||||
|
кВт |
Hp |
L |
LM |
LP |
Ø M |
Ø P |
Двигун |
Насос |
Загальна |
|
|
6SS 30/06 |
5,5 |
7,5 |
1494 |
655 |
839 |
142 |
132 |
22.5/40 |
17 |
39.5/57 |