Отримати консультацію
Телефонуйте: +38 067 364 63 17 +38 099 062 70 17 Пишіть: nasos221@gmail.com
Телефонуйте: +38 067 364 63 17 +38 099 062 70 17 Пишіть: nasos221@gmail.com
Даний товар сертифікований.
Свердловинний насос діаметром 6″(дюймів), призначений для перекачування чистої води. Насос оснащений електродвигуном з торцевим ущільненням валу, опорними підшипниками та мембраною для компенсації об’єму.
Вміст піску 150г/м³ води Максимальна температура 50°С
Двополюсний асинхронний герметичний електродвигун підлягає перемотуванню;
Статор - листова електротехнічна сталь з малими втратами;
Ізоляція класу В;
Потужність двигуна: не більше 37кВт;
Електродвигун заповнений сумішшю пропіленгліколя та води;
Номінальна напруга живлення - 3 x 380-400-415 V;
Частота живлення - 50 Hz;
Тип пуску – прямий пуск; Клас захисту – IP 68;
Максимальна кількість пусків на годину – 22.
|
ХАРАКТЕРИСТИКИ МАТЕРІАЛІВ НАСОСА |
|
|
Корпус насоса |
Нержавіюча сталь - (AISI 304) |
|
Робоче колесо |
Нержавіюча сталь - (AISI 304) |
|
Вал насоса |
Нержавіюча сталь - (AISI 420) |
|
З'єднання(NEMA) - нержавіюча сталь |
Нержавіюча сталь - (AISI 431) |
|
Діаметр вихідного патрубка |
6" |
Гідравлічні характеристики:

|
Тип насоса |
Двигун |
Продуктивність |
|||||||||
|
кВт |
Hp |
м3/г |
0 |
30 |
36 |
43 |
51 |
60 |
65 |
70 |
|
|
6SS 60/21 |
37 |
50 |
H(м) |
306 |
243 |
226 |
210 |
195 |
165 |
154 |
132 |
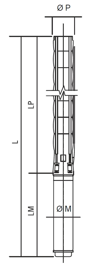
Габритні розміри

|
Модель |
Двигун |
Розміри (мм) |
Вага (кг) |
|||||||
|
кВт |
Hp |
L |
LM |
LP |
Ø M |
Ø P |
Двигун |
Насос |
Загальна |
|
|
6SS 60/21 |
37 |
50 |
3869 |
1247 |
2622 |
142 |
144 |
129 |
60 |
189 |