Глибинний насос 6SS 60/21m

Виробник: NEP
Модель: 6SS 60/21m
0 грн.

  • Наявність: На складі



Отримати консультацію

Отримати консультацію

Телефонуйте: +38 067 364 63 17 +38 099 062 70 17 Пишіть: nasos221@gmail.com

Сертифікований товар

Сертифікований товар

Даний товар сертифікований.

Занурювальні насоси з нержавіючої сталі. Вони забезпечують тривалий термін служби та стабільну роботу завдяки чудовим матеріалам і виробничим характеристикам. Їхня надійна конструкція зменшує вартість терміну експлуатації (вартість життєвого циклу) і дозволяє їм працювати економічно

Технічні характеристики:

  • Макс. допустимий вміст піску 100 г/м³
  • Повністю з нержавіючої сталі
  • Частота: 50 Гц;  
  • Напруга: трифазний: 380-415В(+%6 / - %10);
  • Кришка клапана: Нержавіюча сталь;
  • Ізоляція класу F.
  • Клас захисту IP68
  • Темпаратура перекачуваної рідини - 50°C

Гідравлічна характеристика:

Тип насоса

Двигун

Продуктивність

кВт

Hp

м3

0

30

36

43

51

58

65

72

6SS 60/21m

37

50

H(м)

313

248

233

217

200

183

162

131

 

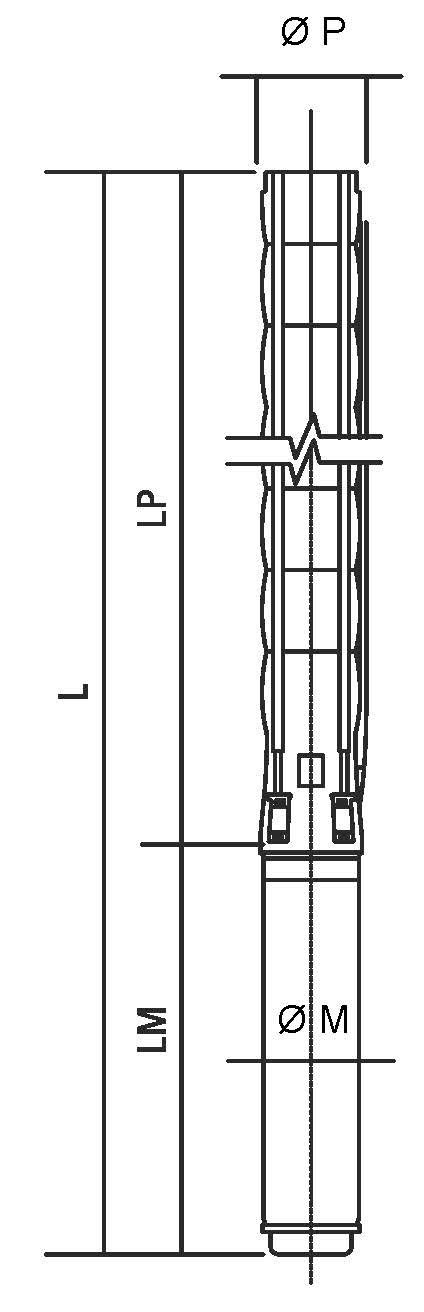
Габаритні розміри:

 

 

 

Модель

Двигун

Розміри (мм)

Вага (кг)

 

кВт

 

Hp

 

L

 

LM

 

 

LP

 

 

Ø M

 

 

Ø P

 

 

Двигун

 

 

Насос

 

 

Загальна

6SS 60/21m

37

50

3602

980

2622

172

144

103

60

163

 

 

 

 

Написати відгук

Увага: HTML не підтримується!
    Погано           Добре