Застосування: насоси для стічних вод.
- PD 600 2" стандартна версія.
- PD 600 2"-ВТ версія низькою напругою 42 Вт (правила CEI 107-43). Для використання в місцях, де необхідно дотримуватися найбільш безпечний режим експлуатації для запобігання ураження струмом.
- Побутові і промислові стоки з вмістом зважених часток до 38 мм, але без наявності довгих волокнистих предметів.
- Придатний для безперервної роботи. При нетривалій роботі допускається занурення насоса на 2/3 його висоти.
Характеристики:
- Продуктивність до 43 м3/ч
- Напір до 18м.
- Максимальний діаметр частинок - 42мм
- Максимальна потужність 1 -1,1 кВт
- Максимальна потужність 3 -2,2 кВт
- Діаметр вихідного патрубка - 1"1/2
- Максимальна температура перекачується рідини + 40°С
- PH середовища 6-11
- Максимальна глибина занурення 20м.
- Максимальна кількість включень в годину-30
Конструкція:
- Корпус насоса виконаний з високоякісного чавуну.
- Робоче колесо - тип Vortex.
- Сухої двигун, ізоляція класу F, захист IP68. Ротор встановлений в закритих самозмащувальних підшипників.
- Механічне ущільнення з карбон-кераміки, захищене ущільнювальним кільцем.
В однофазних версіях - конденсатор:
- PD 600 - розташований всередині насоса; вбудована термозахист.
- PD 600-ex - розташований окремо з насосом.
- PD 600-ВТ - розташований в конденсаторної коробці з пристроєм вкл/викл.
- кабелю в оболонці з Неопрену НО7RN-F, 5м. з латунними скріпками (можлива поставка з 10 м. кабелем.)
Виготовляються в однофазних і трифазних версіях:
- Однофазні версії виконуються в двох варіантах:
- - автоматичне управління за допомогою поплавця
- - пряме включення без поплавця
- Діаметр вихідного патрубка DN 50

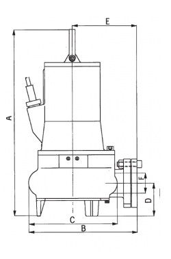
A | B | C | D | E | F | G | H | I |
мм | |
457 | 300 | 220 | 88 | 178 | 2" | | | |
Насоси |
Qmax, м3/год |
30 |
Hmax, м |
10,5 |
Максимальна глибина занурення, м |
20 |
Частота обертання, n/об/хв |
2850 |
Двигун, кВт |
1,1 |
Діаметр всмоктувальних частинок, мм |
42 |
Температура рідини |
+40°C |
Клас ізоляції |
F |
Ступінь захисту |
IP 68 |
Кількість фаз |
1 |